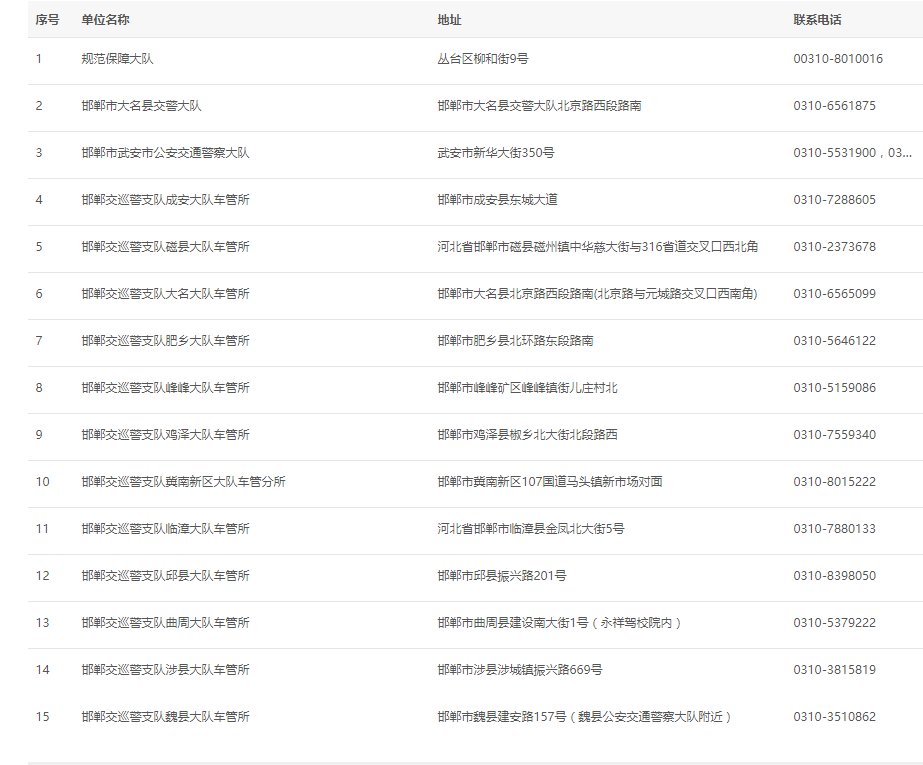
邯郸车管所及各分所地点(邯郸车管所电话号码)

办理业务注意事项
1、按照疫情防控的相关要求,办理业务人员在进出警务站时,必须全程佩戴口罩,配合现场管理人员进行体温检测和登记,体温正常,方可进入场所办理业务。
2、前来办理业务的群众应遵循“一事一人”的办理原则,无关人员,请勿陪同。
3、服从工作人员的管理,按照顺序依次办理业务,排队等候必须间隔一米以上距离。业务办理完毕后,立即离开警务站,不得聚集和逗留。
4、保持警务站环境整洁,严禁乱扔纸巾、口罩和其他垃圾。
为倡导广大市民通过互联网办理交通违法处理业务,车主、驾驶人可通过登录河北省公安交管局互联网交通综合服务管理平台(https://he.122.gov.cn)自助处理交通违法信息。


