台州城乡居民养老保险转移流程(台州社保转移)

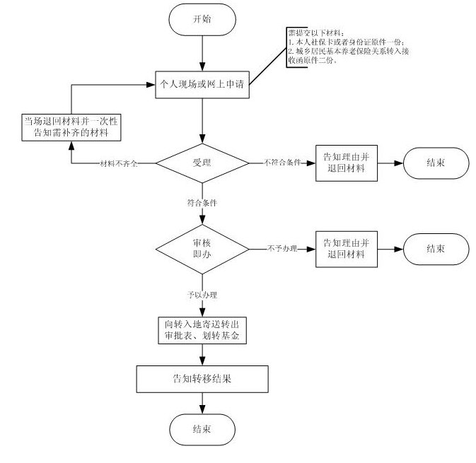
台州城乡居民养老保险转移流程
1、收件:申请人向窗口提交申请材料或在浙江政务服务网进行网上申报工作人员收下材料或者获取政务服务网申报数据。
2、受理:符合条件的予以录入受理。
3、审核:符合条件的做出审核决定。
4、办结:对材料进行归档处理。
5、送达:根据告知渠道对审核决定内容进行告知或送达。

台州城乡居民养老保险转移流程
1、收件:申请人向窗口提交申请材料或在浙江政务服务网进行网上申报工作人员收下材料或者获取政务服务网申报数据。
2、受理:符合条件的予以录入受理。
3、审核:符合条件的做出审核决定。
4、办结:对材料进行归档处理。
5、送达:根据告知渠道对审核决定内容进行告知或送达。