天津社保补缴单位应收核定单位征集核定单打印流程

》》》天津社保补缴单位应收核定单位征集核定单打印流程
【办理入口】
【业务功能】
单位用户可在此模块办理完成当月应收核定后,查询单位核定明细信息,供单位参考,不作为税务申报缴费用途。
【界面图示】
【操作描述】
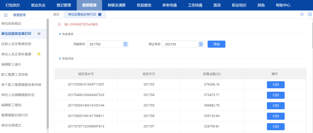
1、点击“缴费管理”-“单位征集核定单打印”。
2、输入开始年月、终止年月,点击“查询”,查询出核定记录。
3、选择一条核定记录,点击“打印”,可以打印《征集核定单》。

》》》天津社保补缴单位应收核定单位征集核定单打印流程
【办理入口】
【业务功能】
单位用户可在此模块办理完成当月应收核定后,查询单位核定明细信息,供单位参考,不作为税务申报缴费用途。
【界面图示】
【操作描述】
1、点击“缴费管理”-“单位征集核定单打印”。
2、输入开始年月、终止年月,点击“查询”,查询出核定记录。
3、选择一条核定记录,点击“打印”,可以打印《征集核定单》。