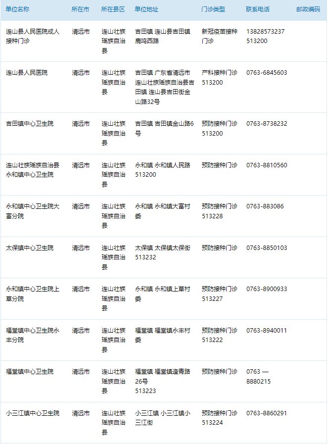
2022连山县疫苗接种门诊一览(连山区打疫苗电话)

2022连山县疫苗接种门诊一览(电话+地址)


拓展:疫苗的作用
接种疫苗的目的就是通过接种疫苗之后会使得体内产生很多免疫力,一旦体内产生了很多免疫力,就可以保护自己不受很多疾病的传染,也不至于导致自己会生很多疾病。
另外打疫苗还是有一个目的的,就是能够控制有针对性的传染病,并且也是可以有效的预防流行传染病的。在打过疫苗之后就能消除一些传染病,自己不受这些传染病的危害,保证身体健康,因此打疫苗还是有一定的必要性的。
为了能够发挥这些功效,大家一定要掌握在最佳的时间段内注射疫苗。
